登录  免费注册

数字工信服务平台

一种平衡式垂直轴风力发电机组

发布时间:2018-07-10 09:25
  • 专利类型:发明专利
  • 日期 :2018-07-10 09:25
  • 专利名称:一种平衡式垂直轴风力发电机组
  • 专利权人 : 匿名
  • 联系电话 :0372-2110568

交易价格(万元):面谈

专利详情

专利类别 :发明专利 专利号 : CN201210280325.0 申请日期 : 2012-08-08 09:24
公开日期 : 专利名称 : 一种平衡式垂直轴风力发电机组 专利权人 :匿名
国际分类号: 暂无 范畴分类号 : 暂无 行业分类 : 暂无
详情介绍:

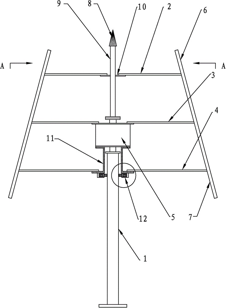
一种平衡式垂直轴风力发电机组,包括立柱、风叶驱动总成及其风轮组和垂直立轴回转系统,垂直立轴回转系统设有外转子永磁发电机、上立柱和稳定轮;外转子永磁发电机的内定子下轴固接于立柱上部;上立柱一端部与外转子永磁发电机的外转子上端盖连接,且固接设有第一连接件;上支架一端部与第一连接件固接,另一端与升力型叶片上部固接;中支架一端部与外转子永磁发电机的外转子上端盖连接,另一端部与升力型叶片中部固接;下支架一端部通过第二连接件与外转子永磁发电机的外转子下端盖连接,另一端部与升力型叶片下部固接;稳定轮与第二连接件下端相接,且其转动部设于立柱旁侧。具有能够提高稳定性及平衡性,且结构简单、综合成本低、易于维护的特点。

服务流程

服务流程

买方卖方

身份 买家提供 卖家提供 交易服务 过户后您将会获得
企业

企业申请

执照

企业营业执照

组织机构代码证

执照

企业营业执照

专利证书证件

专利代理委托书
专利权转让协议
办理文件副本请求书
发明人变更声明

专利委托书

手续合格通知书

专利登记薄副本

个人

个人申请

身份

身份证

执照

身份证

专利证书证件

服务承诺

  • 证明

    确保拿到
    核准专利转让证明

  • 证明

    确保拿到
    转让受理通知书

  • 证明

    专利转让
    全程监控

  • 证明

    专利转让完成
    享受专利最低待遇

  • 证明

    免费客服热线
    快速回复客户问题

联系电话:0372-2110568

传真:0372-2110568

地址:河南省安阳市高新区弦歌大道与峨嵋大街交叉口向东100米路南科创大厦

www.ayipx.cn 版权所有 严禁转载!豫ICP备17028958号 公网安备 41050202000126 河南相映红信息技术有限公司 【后台管理】

0372-2110568