登录  免费注册

数字工信服务平台

一种线绳同步缠绕机

发布时间:2020-07-07
  • 专利类型:实用新型
  • 日期 :2020-07-07
  • 专利名称:一种线绳同步缠绕机
  • 专利权人 : 匿名
  • 联系电话 :2110568

交易价格(万元):面谈

专利详情

专利类别 :实用新型 专利号 : ZL2017205817380 申请日期 : 2017-05-24
公开日期 :2018-01-16 专利名称 : 一种线绳同步缠绕机 专利权人 :匿名
国际分类号: 暂无 范畴分类号 : 暂无 行业分类 : 暂无
详情介绍:

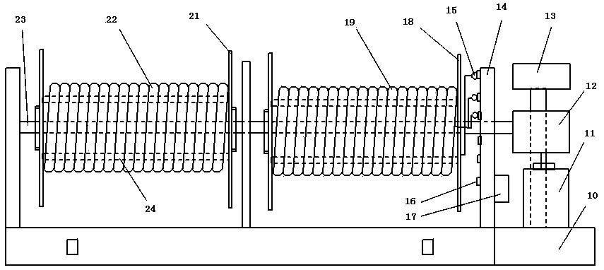
一种线绳同步缠绕机,属于市政工程设备领域,包括电机以及减速机,固定架,所述固定架上设置有转轴,线绳同步缠绕机包括电线卷轮和钢丝绳卷轮,所述电线卷轮和钢丝绳卷轮设置在转轴上,转轴一端连接有减速机以及电机,电线卷轮和钢丝绳卷轮前分别设置有各自的张力调节器,线绳同步缠绕机上设置有控制器和操作按钮,利用本实用新型可实现电线和钢丝绳的同步转动,电力(或信号)和牵引力的同时输送,实现电线和钢丝绳在缠绕或延伸过程中的同步。

服务流程

服务流程

买方卖方

身份 买家提供 卖家提供 交易服务 过户后您将会获得
企业

企业申请

执照

企业营业执照

组织机构代码证

执照

企业营业执照

专利证书证件

专利代理委托书
专利权转让协议
办理文件副本请求书
发明人变更声明

专利委托书

手续合格通知书

专利登记薄副本

个人

个人申请

身份

身份证

执照

身份证

专利证书证件

服务承诺

  • 证明

    确保拿到
    核准专利转让证明

  • 证明

    确保拿到
    转让受理通知书

  • 证明

    专利转让
    全程监控

  • 证明

    专利转让完成
    享受专利最低待遇

  • 证明

    免费客服热线
    快速回复客户问题

联系电话:0372-2110568

传真:0372-2110568

地址:河南省安阳市高新区弦歌大道与峨嵋大街交叉口向东100米路南科创大厦

www.ayipx.cn 版权所有 严禁转载!豫ICP备17028958号 公网安备 41050202000126 河南相映红信息技术有限公司 【后台管理】

0372-2110568