登录  免费注册

数字工信服务平台

一种环保工业污水处理装置

发布时间:2022-06-15
  • 专利类型:实用新型
  • 日期 :2022-06-15
  • 专利名称:一种环保工业污水处理装置
  • 专利权人 : 匿名
  • 联系电话 :0372-2110568

交易价格(万元):面谈

专利详情

专利类别 :实用新型 专利号 : 2020213719451 申请日期 : 2020-07-14
公开日期 :2021-05-11 专利名称 : 一种环保工业污水处理装置 专利权人 :匿名
国际分类号: 暂无 范畴分类号 : 暂无 行业分类 : 暂无
详情介绍:

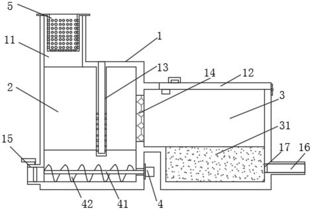
本实用新型公开了一种环保工业污水处理装置,包括装置本体,装置本体的内部设有沉淀腔与吸附腔,装置本体的上端设置有搁置口,搁置口的内侧插接有过滤框,沉淀腔与吸附腔之间设置有陶瓷膜。污水处理装置,通过过滤框初步过滤、沉淀腔物质沉淀、陶瓷膜进行过滤、活性炭颗粒进行吸附多重处理手段,能够有效提高污水处理的质量;且通过电机带动驱动杆及螺旋输送桨转动即可将沉淀腔内沉淀物从排污阀排出方便了沉淀池低的清理。

服务流程

服务流程

买方卖方

身份 买家提供 卖家提供 交易服务 过户后您将会获得
企业

企业申请

执照

企业营业执照

组织机构代码证

执照

企业营业执照

专利证书证件

专利代理委托书
专利权转让协议
办理文件副本请求书
发明人变更声明

专利委托书

手续合格通知书

专利登记薄副本

个人

个人申请

身份

身份证

执照

身份证

专利证书证件

服务承诺

  • 证明

    确保拿到
    核准专利转让证明

  • 证明

    确保拿到
    转让受理通知书

  • 证明

    专利转让
    全程监控

  • 证明

    专利转让完成
    享受专利最低待遇

  • 证明

    免费客服热线
    快速回复客户问题

联系电话:0372-2110568

传真:0372-2110568

地址:河南省安阳市高新区弦歌大道与峨嵋大街交叉口向东100米路南科创大厦

www.ayipx.cn 版权所有 严禁转载!豫ICP备17028958号 公网安备 41050202000126 河南相映红信息技术有限公司 【后台管理】

0372-2110568