登录  免费注册

数字工信服务平台

一种甲醇-高压氧气复合式二冲程发动机及其控制方法

发布时间:2022-10-08
  • 专利类型:发明专利
  • 日期 :2022-10-08
  • 专利名称:一种甲醇-高压氧气复合式二冲程发动机及其控制方法
  • 专利权人 : 匿名
  • 联系电话 :0372-2110568

交易价格(万元):面谈

专利详情

专利类别 :发明专利 专利号 : 202010193142.X 申请日期 : 2020-03-18
公开日期 :2021-02-19 专利名称 : 一种甲醇-高压氧气复合式二冲程发动机及其控制方法 专利权人 :匿名
国际分类号: 暂无 范畴分类号 : 暂无 行业分类 : 暂无
详情介绍:
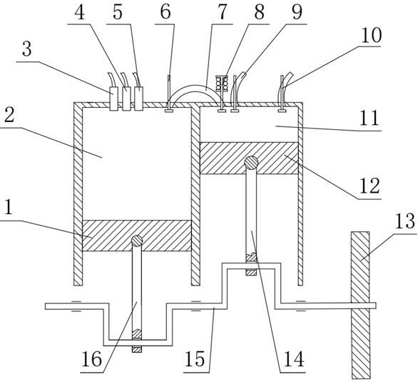
本发明公开一种甲醇‑高压氧气复合式二冲程发动机,由一个或一个以上的气缸组组成,每个气缸组包括一个主气缸和与之对应的一个副气缸,主气缸设有起动燃料喷嘴、甲醇喷嘴、氧气喷嘴和主气缸排气门,不设进气门,主气缸排气口与副气缸之间有连接通道,连接通道在副气缸入口处有单向阀,单向阀只能使主气缸内气体流入副气缸,副气缸不设燃料喷嘴,设有副气缸进气门和副气缸排气门,副气缸进气门与发动机进气管相连通,向主气缸缸内喷射甲醇,并控制主气缸喷射氧气量,控制燃料燃烧程度,将主气缸未彻底燃烧的高温活性气体引入副气缸继续燃烧,实现分缸循环,减少有害气体的排放,实现了燃料的充分燃烧。


服务流程

服务流程

买方卖方

身份 买家提供 卖家提供 交易服务 过户后您将会获得
企业

企业申请

执照

企业营业执照

组织机构代码证

执照

企业营业执照

专利证书证件

专利代理委托书
专利权转让协议
办理文件副本请求书
发明人变更声明

专利委托书

手续合格通知书

专利登记薄副本

个人

个人申请

身份

身份证

执照

身份证

专利证书证件

服务承诺

  • 证明

    确保拿到
    核准专利转让证明

  • 证明

    确保拿到
    转让受理通知书

  • 证明

    专利转让
    全程监控

  • 证明

    专利转让完成
    享受专利最低待遇

  • 证明

    免费客服热线
    快速回复客户问题

联系电话:0372-2110568

传真:0372-2110568

地址:河南省安阳市高新区弦歌大道与峨嵋大街交叉口向东100米路南科创大厦

www.ayipx.cn 版权所有 严禁转载!豫ICP备17028958号 公网安备 41050202000126 河南相映红信息技术有限公司 【后台管理】

0372-2110568